Tesla Model 3/Y heat pump air conditioning cold weather failure behind the software problems caused
And, these winter can not make heat is basically a heat pump air conditioning.
This is very strange, the heat pump air conditioner's efficient power-saving advantages did not come into play, but can not make heat, which led to some Canadian owners questioned, but also caused the attention of Tesla's R & D team. Musk are saying that this is a high priority for Tesla to solve the problem.
But what's even stranger is that Musk said the heat pump air conditioner failure turned out to be a software problem that could be done through a firmware update. Perhaps many people have never heard that the air conditioner also needs OTA, but after understanding the structure and working principle of the Tesla heat pump air conditioner, you can find that this set of hardware can achieve 12 different functions, and all the functions are dependent on software control.
So, the problem with Tesla's heat pump air conditioner may really be a software problem.
So, how amazing is Tesla's heat pump air conditioner? Why does it fail to cool in extremely cold conditions, and can the industry solve this problem? After reading the Tesla heat pump air conditioner patent and having a conversation with the US Willing engineers, the car stuff found the answer to the question.
01. Canadian car owners heat pump failure can actually be solved by firmware update
This month, countries located in the northern hemisphere ushered in the coldest time since winter, and electric cars have entered the worst phase of the year.
Recently, some Canadian Tesla owners reported that their heat pump air conditioning was not working when they were driving in extremely cold conditions.
Twitter user @TSelvig said that the temperature had dropped to -40°C when he was traveling that day. He was driving his Tesla Model Y in this extremely cold weather and the heat pump air conditioning did not work. After trying to restart the vehicle and calling Tesla customer service, the problem could not be solved and the owner was hours away from the nearest service center and could not drive without air conditioning.

Another Model Y owner, @paateach, had an even richer experience, as his Model Y had been without warm air for two winters in a row.

At that time, he took a picture of the prompt on the car's screen: The cabin climate control system needs to be repaired, and the heating and cooling system will be limited or unusable.

Two owners have raised questions about Tesla: Why does Tesla's heat pump air conditioner fail in extremely cold weather? Tesla has been repaired several times, why is the repair program still ineffective?
Some owners even said that after experiencing this winter, they hope to sell their Tesla to switch back to a fuel car, at least there will be no air conditioning heating failure.
Angie Dean, president of the Tesla Owner's Club in Alberta, Canada, a community of Tesla owners, said, "More than a dozen Tesla owners in Alberta and Saskatchewan, Canada, have had problems with their heat pump air conditioners not working."

Just last week, the owners' community Drive Tesla Canada tweeted @Musk asking him to comment on the heat pump issue, and Musk replied to the tweet within 5 minutes, saying that repairing the heat pump air conditioner was a very high priority.40 Minutes later, Musk said that new firmware for the heat pump air conditioner was available to users.
It is quite curious how a faulty heat pump air conditioner can be fixed by a firmware update. In addition, when the firmware update is completed, there are still owners feedback can not make heat, the firmware update is useful or not?
02. extremely cold travel need to preheat the battery in advance heat pump may also have a hardware defect
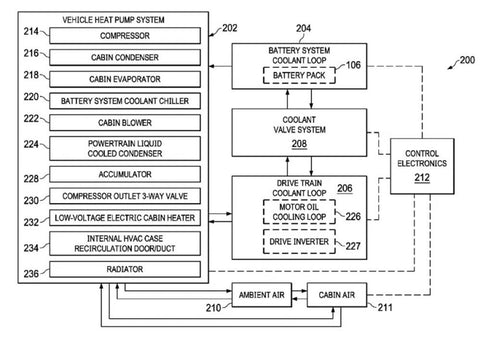
In a Tesla 2019 patent document, the structure and operation of the heat pump air conditioning system is shown. 2020, along with the mass production of the Model Y models, this patent is also transformed into Tesla's mass production applications.
If you open the front trunk of the Tesla, you can see the heat pump air conditioning and multiple pipes and wiring harnesses, which is actually just the "tip of the iceberg" of the heat pump system. From the patent diagram, Tesla's heat pump air conditioner has 11 main components and is responsible for the heat circulation of the entire vehicle, which can lead to different parts of the vehicle such as the cockpit, battery pack and motor.

These major components are the compressor, cabin condenser, cabin evaporator, battery system cooling unit, cabin blower, motor liquid-cooled condenser, battery, three-way compressor outlet, low-pressure electric cabin heater (PTC), recirculating air conditioner, and heater.
Of these 11 major components, Tesla did not simply eliminate conventional PTC heating, but still equipped with a low-pressure PTC heater. However, due to the lack of power, this PTC heater does not provide direct heating to the cabin, but rather provides auxiliary heating when the heat pump system does not produce enough heat.
Rather surprisingly, Tesla's set of hardware is capable of 12 different operating modes, which are accomplished through different software scheduling.
Among these 12 working modes, the heat pump is not involved in many modes, only three. Heat pump involved in heating can be divided into pure heat pump mode and hybrid heating mode. When the efficiency of the heat pump is high, the pure heat pump mode is enabled, and when the efficiency is low, the hybrid heating mode is enabled, where the heat pump can be mixed with PTC heating, and can also join the evaporator to heat together.
In addition, the compressor and evaporator alone can also heat the cockpit and battery system. And the heat circulation system in the car can also realize the functions of cockpit defogging, defrosting and dehumidifying.
Here it is possible to conclude that the problem of heat pump air conditioning is indeed feasible to be fixed by firmware update.
When there is no problem with the hardware of the heat pump air conditioning system, adjusting the software scheduling in different environments will enable the adjustment of the heat pump air conditioning system.
In the case of heat pump systems alone, there is a strong connection between the efficiency of the heated cockpit and the efficiency of the heat pump. This is because heat pump air conditioning works by exchanging heat energy between the inside and outside of the vehicle.
Through the evaporator, the refrigerant is able to absorb heat from the outside environment to the inside of the car after the refrigerant is liquefied and heat is released to heat the cockpit.
However, if the lower the outside ambient temperature, the more difficult it is for the refrigerant to obtain heat from the outside environment, which leads to heat pump air conditioning in the extremely cold environment is not very efficient.
Tesla is also aware of this obvious problem, so in addition to the heat pump air conditioning also added auxiliary heating devices.
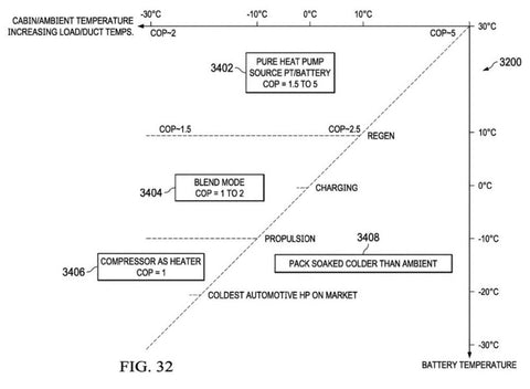
In the patent, Tesla drew a chart that explains the efficiency of heat pump air conditioners in different temperature conditions. The efficiency coefficient of heat pump air conditioner is expressed by COP (Coefficient of Performance), when COP=1, it means that the consumption of electricity and the generation of heat energy are equal; when COP>1, the heat pump air conditioner is in the high efficiency zone, which means that the consumption of less electricity can get more heat energy.

As you can see from Tesla's chart, the efficiency of the heat pump air conditioner will be very low when the ambient temperature and the battery temperature are both below -20°C. This temperature is also considered by Tesla to be extremely cold, and there is no longer a solution below this temperature. However, at this point, only the battery needs to be heated, the COP value will then increase and the heating system will be able to work properly.
When COP = 1, the heat pump air conditioner does not work, relying on evaporation to achieve heating, when COP ≥ 1, the heat pump air conditioner will be involved in heating, and then the temperature needs to be above -10 ℃.
The second conclusion can be drawn here: if the weather outside is extremely cold, even if the heat pump air conditioner firmware is updated, the heating effect will still be poor. The solution is to heat the battery, or to preheat the battery before traveling.
However, under the Musk reply has updated the firmware tweet, there are many users feedback that the vehicle still can not make heat.
Well, it is likely that there is a hardware problem.
Tesla owner @paateach tweeted that his Tesla Model Y has been replaced twice with superki tubes, which include the sensor, expansion valve and refrigerant lines for the heat pump air conditioner. The heating system is working for now, but he is very concerned that it may be damaged again.

Twitter users Tesla owners online revealed the story of the development of heat pump air conditioning. Recently, Tesla engineers in California and Alaska are testing heat pump air conditioning, the test results found that below -30 ℃, Tesla's heat pump air conditioning can work properly, the reason is that the heat pump air conditioning has two refrigerant cycle.

At the same time, engineers also found the problem: in extremely cold weather, the front air inlet cover will be frozen, resulting in cold air intake during the driving process. As the cold air temperature is too low, the sensor will report an error to the system after sensing it, at which time the compressor will stop working and the heat production will stop.
In order to quickly solve this problem, Tesla may force the compressor to start through the software, temporarily avoiding the failure of heating in extremely cold weather. But to completely solve this problem, later Tesla may need to update part of the hardware.
03. Hybrid heating can cope with low temperatures Some companies are still exploring new refrigerants
For the automotive industry, heat pump air conditioning is still a new thing, Tesla Model Y mass production in early 2020 to carry. Before that, pure electric cars generally use the PTC way to heat the car. But even under ideal conditions, the COP of PTC is 1. The lack of efficiency results in very high power consumption for PTC heating, which in turn is a major factor affecting the winter range of electric vehicles.
The high efficiency of heat pump air conditioners has attracted the attention of electric vehicle companies, and all new electric vehicles listed in 2021 will be upgraded from PTC heating to heat pump air conditioners. However, due to the limitations of the refrigerant, usually when the temperature is below -10 ℃, the efficiency of the heat pump will be significantly reduced, at this time also have to rely on PTC heating for vehicle heating.
For example, the Peng P5 is equipped with a heat pump air conditioner to achieve efficient heating, but also equipped with PTC, when the temperature is below -10 ℃, the vehicle will enable PTC heating to warm the car.
It can be said that the Peng P5 has solved the shortcomings of the heat pump air conditioner to some extent, but not completely.
Another up-and-coming auto parts manufacturer, Welling, has solved the problem of heating in extremely cold weather. Speaking of Welling, many friends in the automotive circle may not be unfamiliar, Welling is a subsidiary of the domestic home appliance head company Midea Group.
Last year, Welling announced the production of several automotive parts, including heat pump air conditioners for cars.
At present, heat pump air conditioners usually use refrigerant R134a (CH2FCF3, tetrafluoroethane), but when the outside temperature is low, the heat production decay is very obvious. Therefore, the industry has mixed refrigerant exploration, but also can not significantly improve the performance.
The engineers at Welling Components have taken a different approach by using carbon dioxide as the refrigerant, which has significantly improved the heating efficiency in extremely cold temperatures.
Welling's rotor type CO2 electric compressor can achieve a heating efficiency of COP=2 at -30℃. At the same time, it has low noise during operation and a lighter overall design.
According to Welling engineers, users do not need to drive with a blanket in extremely cold weather, and the CO2-based heat pump can increase the range of the vehicle by up to 20% compared to traditional heat pump air conditioners.
The CO2 electric compressor alone has 220 domestic invention patents and 14 international invention patents, and has completely independent intellectual property rights. At the same time, CO2, as a common greenhouse gas, is collected and used as refrigerant, which also contributes to "carbon neutrality".
Last year, the heat pump air conditioning products of Midea Wei Ling components have been installed in Xiaopeng, Weilai and other pure electric brand models, becoming a microcosm of the rapid transformation of domestic components enterprises to electrification.
04. Conclusion: there is still huge room for innovation in electric vehicles
In 2020, Tesla installed heat pump air conditioners into pure electric vehicles, driving the electric vehicle industry one step further in the direction of high efficiency. In just one year, by 2021, heat pump air conditioning has become the standard for high-end electric vehicles.
Clearly, technology that would not have been used in the fuel car era could be a huge innovation in the electric car era. In today's increasingly competitive global electric vehicle world, there is still tremendous room for innovation in the electric vehicle sector.